





5
1 / 10
89
,99 zł
z 60 szt.
Dostawa
Darmowa dostawa. Dostawa u Ciebie we wtorekSZCZEGÓŁY
ZAPŁAĆ PÓŹNIEJ
SZCZEGÓŁY
Sprzedawca
Tradimerce
4.2
SZCZEGÓŁY
Zwroty
14 dni na odstąpienie od umowy
SZCZEGÓŁY

89.99 zł
Parametry
Stan
nowy
EAN
651821235371
Opis
✔️Dwutonowy dźwięk BIM-BAM o głośności 85 dB, zapewniający klarowny i przyjemny sygnał, który dociera do wszystkich pomieszczeń bez powodowania dyskomfortu.
✔️ Wysoka jakość wykonania z odpornego tworzywa sztucznego w białym kolorze, gwarantująca trwałość, estetykę i odporność na uszkodzenia.
✔️ Certyfikaty NEMKO i CE, potwierdzające pełne bezpieczeństwo, zgodność z normami oraz niezawodność w użytkowaniu wewnętrznym.
✔️ Efektywność energetyczna z niskim poborem mocy 11 VA i prądu 0,04 A, umożliwiająca długotrwałe, stabilne działanie bez nadmiernego zużycia energii.
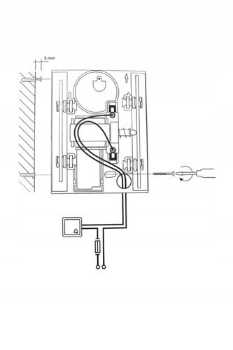
Ten wysokiej jakości dzwonek przewodowy dwutonowy BIM-BAM 230V w kolorze białym, model GNS-921 od polskiego producenta ZAMEL, wyróżnia się nie tylko precyzyjnym wykonaniem, ale także zaawansowanymi funkcjami. Generuje przyjemny dwutonowy dźwięk BIM-BAM o głośności 85 dB, który idealnie sygnalizuje przybycie gości, zapewniając klarowność i niezawodność w codziennym użytkowaniu.
Dzwonek gwarantuje pełną ochronę i trwałość dzięki certyfikatom NEMKO i CE, co potwierdza jego niezawodność w warunkach domowych. Zaprojektowany do montażu wewnątrz pomieszczeń z klasą ochrony IP20, umożliwia bezproblemową instalację w każdym wnętrzu, gdzie liczy się precyzja i długoterminowa wydajność bez niespodzianek.
Produkt nie ustępuje pod względem jakości materiałów – obudowa z wysokiej jakości tworzywa sztucznego o matowym wykończeniu w głębokim białym kolorze zapewnia odporność na uszkodzenia i elegancki wygląd, który harmonijnie wpisuje się w nowoczesne aranżacje. To rozwiązanie, które łączy praktyczność z subtelnym stylem, bez kompromisów w kwestii wytrzymałości.
Wszystko to uzupełnia efektywność energetyczna i prostota obsługi. Zasilany standardowym napięciem 230V AC, dzwonek o niskim poborze mocy 11 VA i prądu 0,04 A (znamionowy pobór 48 mA) jest energooszczędny, a zakres pracy od 0 do 35°C gwarantuje stabilne działanie w typowych warunkach domowych. To więcej niż dzwonek – to solidny element Twojego domu, dostosowany do codziennych potrzeb z myślą o długoletniej satysfakcji.
✅ Stan: Nowy
✅ Marka: Zamel
✅ Liczba melodii: 1
✅ Głośność: 85 dB
✅ Kolor: biały
✅ Kod producenta: SUN10000118
✅ Certyfikaty zgodności: CE, WEEE
Numer oferty: 61604610
Informacje dotyczące bezpieczeństwa i zgodności
Porównaj produkty
Stan
nowy
EAN
5903669302216
Najczęściej kupowane
Inni klienci oglądali również
Nowe produkty